空压机安全阀是一种由进口静压开启的自动泄压防护装置,它是为了防止设备和容器内异常状况下压力过高引起爆炸而设置的安全装置。
当设备内压力超过允许值时,安全阀自动开启,继而全量(全启式)排放,当压力降低到规定值时,安全阀自动关闭,保护设备安全。一般空压机安全阀都装在油气分离筒上面,平常空压机压力正常时安全阀是关闭的状态,在机器运转出现问题压力持续上升的情况下安全阀会自动打开,释放油气分离筒内部的压力,防止机器压力高出现意外的事故,一般安全阀的开启压力比空压机的额定压力高0.1MP。

主要性能参数 Specification | |
型号Type | A28X-16T |
公称压力 Nominal pressure | 1.6MPa |
公称通径 Nominal diameter | DN6~DN50 |
排放压力 Relieving pressure | ≤1.1整定压力 |
密封压力 Seal pressure | 90%整定压力 |
适用温度 Suitable temperature | ≤200℃ |
适用介质 Suitable medium | 油气 |
主要零件材料
Main parts material
零件名称 | 材料 |
阀 体 | HPb59-1 |
阀 壳 | HPb59-1 |
O形圈 | 氟橡胶(V85) |
阀 瓣 | HPb59-1 |
弹 簧 | 50CrVA |
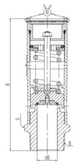
主要尺寸参数
Main diameter
公称通径 | DN6 | DN10 | DN15 | DN20 | DN25 | DN32 | DN40 | DN50 |
连接尺寸R (Connection Dimension) | R1/4" | R3/8" | R1/2" | R3/4" | R1" | R1 1/4" | R1 1/2" | R2" |
喉径d0(mm)Throat Diameter | Φ8 | Φ8 | Φ14 | Φ15 | Φ20 | Φ25 | Φ28 | Φ32 |
六角S(mm)Hex | 24 | 24 | 32 | 32 | 44 | 54 | 54 | 64 |
总高度H(mm)Total Height | 84 | 84 | 129 | 134 | 152 | 181 | 181 | 186 |
额定排量(空气)m3/min relieving capacity(Air)
整定压力 | DN6 | DN10 | DN15 | DN20 | DN25 | DN32 | DN40 | DN50 |
Noninal Pressure | d0=8mm | d0=8mm | d0=14mm | d0=15mm | d0=20mm | d0=25mm | d0=28mm | d0=32mm |
102(0.7) | 3.4 | 3.4 | 10.5 | 12.0 | 21.3 | 33.3 | 41.8 | 54.6 |
116(0.8) | 3.8 | 3.8 | 11.8 | 13.5 | 24.0 | 37.5 | 47.1 | 61.5 |
131(0.9) | 4.3 | 4.3 | 13.1 | 15.0 | 26.7 | 41.8 | 52.4 | 68.4 |
145(1.0) | 4.7 | 4.7 | 14.4 | 16.6 | 29.4 | 46.0 | 57.7 | 75.3 |
160(1.1) | 5.1 | 5.1 | 15.7 | 18.1 | 32.1 | 50.2 | 63.0 | 82.2 |
174(1.2) | 5.6 | 5.6 | 17.1 | 19.6 | 34.8 | 54.4 | 68.2 | 89.1 |
189(1.3) | 6.0 | 6.0 | 18.4 | 21.1 | 37.5 | 58.6 | 73.5 | 96.0 |
203(1.4) | 6.4 | 6.4 | 19.7 | 22.6 | 40.2 | 62.8 | 78.8 | 102.9 |
218(1.5) | 6.9 | 6.9 | 21.0 | 24.1 | 42.9 | 67.0 | 84.1 | 109.9 |
232(1.6) | 7.3 | 7.3 | 22.3 | 25.7 | 45.6 | 71.3 | 89.4 | 116.8 |



